НАСАДКА К УНИВЕРСАЛЬНОЙ ДЕЛИТЕЛЬНО-ЗАКАТОЧНОЙ МАШИНЕ ДЛЯ БАРАНОЧНЫХ ИЗДЕЛИЙ Б-4-58     <<Назад

Стоимость, тыс. руб.:

•  Сушка-малютка, 8 ручьев 64,9
•  Баранка 59,0
•  Сушка-стандарт 53,1

 

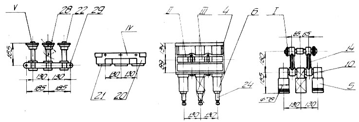
Сменные узлы для сушек
Сменные узлы для сушек: Ι - Поршневая группа , ΙΙ - Поршневой вкладыш с гильзами,
ΙΙΙ - Центральный нагнетатель валков, ΙV - Обойма с стаканами , V - Кронштейн с выталкивателями.

Сменные узлы для бубликов
Сменные узлы для бубликов: Ι - Поршневая группа , ΙΙ - Поршневой вкладыш с гильзами,
ΙΙΙ - Центральный нагнетатель валков, ΙV - Обойма с стаканами , V - Кронштейн с выталкивателями.

Сменные узлы для баранок:
Сменные узлы для баранок: Ι - Поршневая группа , ΙΙ - Поршневой вкладыш с гильзами,
ΙΙΙ - Центральный нагнетатель валков, ΙV - Обойма с стаканами , V - Кронштейн с выталкивателями.




В разделе "Каталог оборудования" представлено ТАЙВАНЬСКОЕ И КИТАЙСКОЕ ОБОРУДОВАНИЕ, более ДЕШЕВЫЕ АНАЛОГИ ЯПОНСКОГО И НЕМЕЦКОГО оборудования

У нас РАСПРОДАЖА:
Линия производства сахарных сортов печенья в сборе на основе линии
ШЛ-1П

Тел./факс: +7(495)784-19-00 e-mail: 7841900@mail.ru
 
На главную
Rambler's Top100